觸摸屏數顯布洛維硬度計 MHBRVS-187.5
HBRVS-187.5型數顯布洛維硬度計具備布氏,洛氏,維氏三種試驗方法,七級試驗力的多用途多功能硬度機,能滿足用戶多種硬度測試的要求。試驗力的施加、保荷和卸荷自動完成。使用范圍廣、操作方便,是工礦企業、科研院校所常備的硬度試驗機。
詳細介紹
【產品介紹】
HBRVS-187.5型數顯布洛維硬度計具備布氏,洛氏,維氏三種試驗方法,七級試驗力的多用途多功能硬度機,能滿足用戶多種硬度測試的要求。試驗力的施加、保荷和卸荷自動完成。使用范圍廣、操作方便,是工礦企業、科研院校所常備的硬度試驗機。
【功能介紹】
● 具備布氏,洛氏,維氏三種試驗方法
● 七級試驗力的多用途多功能硬度機,能滿足用戶多種硬度測試的要求
● 洛氏硬度,布氏和維氏讀數都可數顯液晶顯示
● 試驗力的施加、保荷和卸荷自動完成
● 使用范圍廣、操作方便
【應用范圍】
測定黑色金屬、有色金屬硬質合金以及非金屬的布氏、維氏、洛氏硬度。應用范圍廣,可廣泛用于測定:
a、鑄件、退火鋼、正火鋼、有色金屬及軟合金的布氏硬度;
b、淬火、調質等熱處理材料的洛氏硬度;
c、滲氮層、陶瓷、薄板、金屬薄片、電鍍層、微小零件的維氏硬度。
【技術參數】
|
型號 |
MHBRVS-187.5 |
|
|
試驗力(試驗力允差:±1.0%) |
洛式標尺 |
HRA, HRB, HRC, HRD,HRE, HRF,HRG,HRH,HRK 60Kg (588N),100Kg (980.7N),,150Kg(1471N) |
|
布氏標尺 |
HBW2.5/31.25, HBW2.5/62.5,HBW5/62.5, HBW2.5/187.5 30kgf(294.2N)、31.25kgf(306.5N)、62.5kgf(612.9N)、100kgf(980.7N)、187.5kgf(1839N) |
|
|
維氏標尺 |
HV30, HV100 30Kg(294.2N),100Kg (980.7N) |
|
|
被測試件允許最大高度 |
測試洛氏硬度:185mm |
|
|
測試布氏、維氏硬度:135mm |
||
|
顯微鏡放大倍率 |
37.5X,,75X |
|
|
保菏時間 |
2 ~ 60S |
|
|
壓頭中心到機身距離 |
165mm |
|
|
儀器尺寸 |
520X240X700mm (長*寬*高, L*W*H) |
|
|
儀器重量 |
約85Kg |
|
|
電源 |
AC220V±5%,50~60Hz |
|
|
執行標準 |
GB/T230.2(洛氏),GB/T231.2(布氏) ,GB/T4340.2 (維氏) JJG112 (洛氏),JJG150(布氏) |
|
|
照明 |
a洛氏:不可用 |
|
|
b維氏內置照明:可調 |
||
|
c布氏用外置照明:不可調 |
||
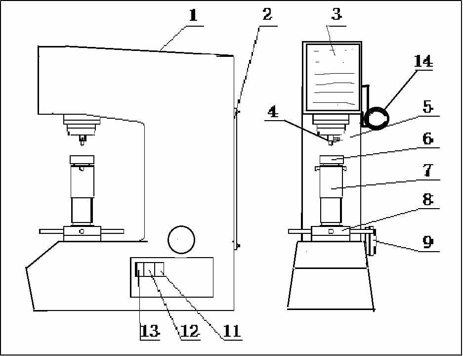
【硬度計主機外形】
硬度計主機外形
1.上蓋
2.后蓋
3.觸摸面板
4.壓頭止緊螺釘
5.壓頭
6.試臺
7.升降螺桿
8.旋輪
9.變荷手輪
11.電源插座
12.保險絲
13.開關
14.支架
操作面板介紹
操作面板
【硬度計符合標準】
GB/T 230.1-2018 金屬材料 洛氏硬度試驗 第1部分 試驗方法
GB/T 230.2-2012 《金屬材料 洛氏硬度試驗 第2部分:硬度計的檢驗與校準》國家標準
JJG 112-2013_金屬洛氏硬度計(A,B,C,D,E,F,G,H,K,N,∕T標尺)檢定規程
ASTM E18-2015金屬材料洛氏硬度試驗方法標準
ASTM標準-金屬試驗方法及分析程序
GBT 231.1-2018 金屬材料 布氏硬度試驗 第1部分:試驗方法
GB/T 231.2-2012 金屬材料 布氏硬度試驗 第2部分:硬度計的檢驗與校準
GB/T4340.1-1999 GB/T 4340.1-1999 金屬維氏硬度試驗 第1部分:試驗方法
GB/T4340.2-1999 GB/T 4340.2-1999 金屬維氏硬度試驗 第2部分:硬度計的檢驗
ISO 6507-2:2018《金屬材料 維氏硬度試驗 第2部分:硬度計的檢驗與校準》國際標準
ASTM E384-17 材料的努氏和維氏硬度標準試驗方法
JJG151 - 金屬維氏硬度計檢定規程
【標準配置】
主機附件箱:
|
名稱 |
數量 |
名稱 |
數量 |
|
金剛石洛氏壓頭 |
1只 |
金剛石維氏壓頭 |
1只 |
|
φ1.5875mm、φ2.5mm、φ5mm球壓頭 |
共3塊 |
大平試臺 |
1只 |
|
中平試臺 |
1只 |
“V”型試臺 |
1只 |
|
標準洛氏硬度塊: |
|||
|
HRC 高、低 |
各1塊 |
HRB |
1塊 |
|
標準維氏硬度塊 |
1塊 |
標準布氏硬度塊 |
1塊 |
|
0、1、2、3、4砝碼 |
共5只 |
電源線 |
1根 |
顯微鏡附件箱:
|
名稱 |
數量 |
名稱 |
數量 |
|
顯微鏡座 |
1只 |
測微目鏡 |
1只 |
|
2.5X物鏡 |
1只 |
5X物鏡 |
1只 |
|
溜板試臺 |
1套 |
外照明燈 |
1只 |
|
內照明燈 |
1只 |
|
|







渝公網安備 50010902001682號