
觸摸屏數顯塑料洛氏硬度計600CXMRD 通用型號 MXHRS-150
觸摸屏數顯塑料洛氏硬度計600CXMRD采用一體化鑄造機身,不變形不位移,砝碼加載結構,性能穩定,測量精度高,重復性好。位移感器精度高、多種標準硬度換算功能、15種洛氏硬度標尺、7吋高靈敏度觸摸屏操控顯示、測試結果直接輸出到USB、菜單式結構。
詳細介紹
【產品概述】
一體化鑄造機身,不變形不位移,砝碼加載結構,性能穩定,測量精度高,重復性好。位移感器精度高、多種標準硬度換算功能、15種洛氏硬度標尺、7吋高靈敏度觸摸屏操控顯示、測試結果直接輸出到USB、菜單式結構。
【主要功能】
● 位移感器精度高;
● 7吋觸摸屏顯示,圖標式結構;
● 15種洛氏硬度標尺的選擇;
● 多種標準硬度換算功能;
● 硬度測試結果直接輸出到USB;
● 具有良好的可操作性和直觀性;
● 結構堅固,剛性好 、準確、穩定、損耗低。
【應用范圍】
可用來測定塑料、復合材料和各種摩擦材料及軟金屬、非金屬軟材料的硬度。適用于塑料、硬橡膠、摩擦材料、合成樹脂、鋁錫合金、硬紙板等材料的硬度測定。
【技術參數】
|
型號 |
600CXMRD |
|
初試驗力 |
10kgf(98.07N) |
|
試驗力 |
60kgf(588N) 100kgf(980.N) 150kgf(1471N) |
|
洛氏標尺 |
HRA,HRB,HRC,HRD,HRE,HRF,HRG,HRH,HRK,HRL ,HRM,HRP,HRR ,HRS,HRV |
|
壓頭規格 |
φ3.175mm(1/8英寸) φ6.35mm(1/4英寸) φ12.7mm(1/2英寸) |
|
測試范圍 |
HRA:20-95、HRBW:10-100、HRC:20-70、HRD:40-77、HREW:70-100、HRFW:60-100、HRGW:30-94、HRHW:80-100、HRKW:40-100、HRL:50-115、HRM:50-115、HRR:50-115 |
|
硬度分辨率 |
0.1HR |
|
保荷時間 |
2 ~60S |
|
硬度轉換標尺種類 |
GB、ISO、ASTM |
|
顯示方式 |
觸摸屏顯示 |
|
試件最大高度 |
190mm |
|
壓頭到內壁 |
165mm |
|
外形尺寸(mm) |
520X240X700mm |
|
主機重量 |
約80Kg |
|
電源 |
AC220V + 5%, 50~60 Hz |
|
執行標準 |
ASTM T.1、ASTM T.2、ASTM T.3、ASTM T.4、ASTM T.7、ASTM T.8、ASTM T.9、ISO T.A1、ISO T.B2、ISO T.B3、ISO T.B4、ISO T.C2、ISO T.D2、ISO T.D4、ISO T.D6、ISO T.D8、ISO T.E2、ISO T.F5、GB T.1、GB T.2 |
|
轉換標尺 |
HV、HV10、HV5、HV50、HRC、HRA、HR15N、HR30N、HR45N、HRB、 HRF、HRD、 HRG、HRK、HRE、HR45T、HR430T、HR15T、HBS、HBW、Rm(C)、Rm(Cr)、Rm(CrV)、Rm(CrNi) Rm(CrMo)、Rm(NiMo)、Rm(MnSi)、Rm(High)、Rm(STNL)、Rm、HK、HS |
|
數據輸出 |
USB |
【洛氏試驗原理】
硬度計測量原理圖
HRC.A=100-n1-n0 0.002
HRB=130-n1-n0 0.002
式中:n0 — 在初試驗力F0作用下,壓頭壓入試樣的深度
n1 — 在以施加總試驗力F,并卸除主試驗力F1,但仍保持初試驗力F0時壓頭壓入試件的深度。
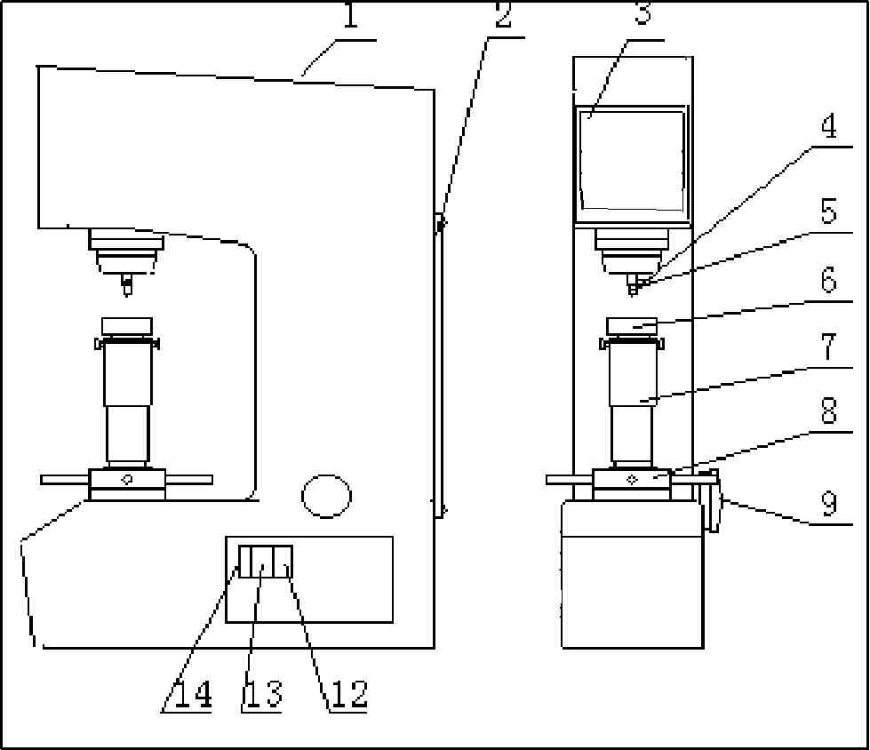
【硬度計主機外形】
硬度計主機外形
1.上蓋
2.后蓋
3.顯示屏
4.壓頭止緊螺釘
5.壓頭
6.試臺
7.螺桿
8.旋輪
9.手輪
10.RS-232插口
11.打印機
12.電源插座
13.保險絲
14.開關
【硬度計符合標準】
GB/T 230.1-2018 金屬材料 洛氏硬度試驗 第1部分 試驗方法
GB/T 230.2-2012 《金屬材料 洛氏硬度試驗 第2部分:硬度計的檢驗與校準》國家標準
JJG 112-2013_金屬洛氏硬度計(A,B,C,D,E,F,G,H,K,N,∕T標尺)檢定規程
ASTM E18-2015金屬材料洛氏硬度試驗方法標準
ASTM標準-金屬試驗方法及分析程序
【標準配置】
名稱
數量
名稱
數量
塑料洛氏壓頭
3只
電源線
1根
砝碼A、B、C
共3只
標準洛氏硬度塊
共3塊
產品使用說明書
1本
大、中、 V型試臺
各1只
產品合格證
1份








渝公網安備 50010902001682號