
數顯塑料洛氏硬度計600XMRD 通用型號 XHRS-150
數顯塑料洛氏硬度計600XMRD采用一體化鑄造機身,不變形不位移,砝碼加載結構,性能穩定,測量精度高,重復性好。顯示界面采用了菜單式結構,精度位移傳感器,5.1吋LCD屏顯示,12種洛氏硬度標尺的選擇,多種硬度換算功能,硬度測試結果打印輸出,具有良好的可操作性和直觀性,結構堅固,剛性好、準確、經用、安裝調試簡單。
詳細介紹
【產品概述】
一體化鑄造機身,不變形不位移,砝碼加載結構,性能穩定,測量精度高,重復性好。顯示界面采用了菜單式結構,精度位移傳感器,5.1吋LCD屏顯示,12種洛氏硬度標尺的選擇,多種硬度換算功能,硬度測試結果打印輸出,具有良好的可操作性和直觀性,結構堅固,剛性好、準確、經用、安裝調試簡單。
【功能介紹】
● 精度位移感器,
● 5.1吋LCD屏顯示,菜單式結構,
● 12種洛氏硬度標尺的選擇,可選配塑料配件測塑料硬度,
● 多種硬度換算功能,
● 硬度測試結果打印輸出,
● 具有良好的可操作性和直觀性
● 結構堅固,剛性好 、準確、經用。
【應用范圍】
可用來測定塑料、復合材料和各種摩擦材料及軟金屬、非金屬軟材料的硬度。適用于塑料、硬橡膠、摩擦材料、合成樹脂、鋁錫合金、硬紙板等材料的硬度測定。
【技術參數】
|
型號 |
600XMRD |
|
初試驗力 |
10kgf(98.07N) |
|
試驗力 |
60kgf(588N) 100kgf(980.N) 150kgf(1471N) |
|
洛氏標尺 |
HRA、HRB、HRC、HRD、HREW、HRFW、HRGW、HRHW、HRKW、HRL、HRM、HRR |
|
換算標尺 |
HRA、HRB、HRC、HRD、HRF、HV、HK、HBW、HR15N、HR30N、HR45N、HR15T、HR30T、HR45T |
|
塑料洛氏 壓頭規格 |
φ3.175mm(1/8英寸) φ6.35mm(1/4英寸) φ12.7mm(1/2英寸) |
|
硬度分辨率 |
0.1HR |
|
保荷時間 |
2 ~60S |
|
顯示方式 |
液晶屏顯示 |
|
試件最大高度 |
190mm |
|
壓頭到內壁 |
165mm |
|
外形尺寸(mm) |
520X240X700mm |
|
主機重量 |
約80Kg |
|
電源 |
AC220V + 5%, 50~60 Hz |
|
執行標準 |
精度符合GB/T230.2、GB/T230.2、ISO6508-2、ASTM E18、JJG112檢定規程 |
|
數據輸出 |
打印機 |
【洛氏試驗原理】
試驗開始時,試驗機壓頭放在試件上,施加初試驗力,并建立一由位移傳測量裝置測出的基準點。因為初試驗力使壓頭壓入試件,所以表面的光潔或不規則不會影響試驗。接著試驗機施加主試驗力,這一較大的力,進入試樣更深,然后卸除主試驗力,同時保持初試驗力,此時,試驗機測量相對于既定的基準點的凹痕深度。凹痕的直線深度是洛氏硬度數值的基礎。凹痕深度淺只表示材料硬度較高,凹痕深度相對深,則表示材料硬度較軟。
硬度計測量原理圖
HRC.A=100-n1-n0 0.002
HRB=130-n1-n0 0.002
式中:n0 — 在初試驗力F0作用下,壓頭壓入試樣的深度
n1 — 在以施加總試驗力F,并卸除主試驗力F1,但仍保持初試驗力F0時壓頭壓入試件的深度。
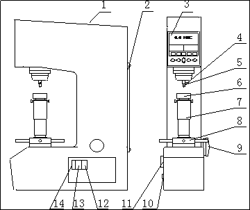
【硬度計主機外形】
硬度計主機外形
1.上蓋
2.后蓋
3.顯示屏
4.壓頭止緊螺釘
5.壓頭
6.試臺
7.螺桿
8.旋輪
9.手輪
11.打印機
12.電源插座
13.保險絲
14.開關
【硬度計符合標準】
GB/T 230.1-2018 金屬材料 洛氏硬度試驗 第1部分 試驗方法
GB/T 230.2-2012 《金屬材料 洛氏硬度試驗 第2部分:硬度計的檢驗與校準》國家標準
JJG 112-2013_金屬洛氏硬度計(A,B,C,D,E,F,G,H,K,N,∕T標尺)檢定規程
ASTM E18-2015金屬材料洛氏硬度試驗方法標準
ASTM標準-金屬試驗方法及分析程序
【標準配置】
名稱
數量
名稱
數量
塑料洛氏壓頭
3只
大、中、 V型試臺
各1只
砝碼A、B、C
共3只
標準塑料洛氏硬度塊(HRE、 HRL 、HRM、 HRR)
各1塊
產品使用說明書
1本
產品合格證
1份








渝公網安備 50010902001682號