
數顯小負荷布氏硬度計 HBS-62.5
數顯小負荷布氏硬度計HBS-62.5采用一體化鑄鋁機身,不變形、不位移,性能穩定,測量精度高,重復性好。實驗結果可通過打印輸出。采用砝碼加載結構、自動補償試驗力。帶硬度值轉換功能,硬度上下公差判斷。光源亮度使觀察更清晰容易。5.1吋大屏LCD顯示,菜單式結構,操作簡便。壓頭和物鏡手動切換,壓痕直徑長度D1和D2值編碼器輸入,減少人為讀數誤差。
詳細介紹
【產品概述】
一體化鑄鋁機身,不變形、不位移,性能穩定,測量精度高,重復性好。實驗結果可通過打印輸出。采用砝碼加載結構、自動補償試驗力。帶硬度值轉換功能,硬度上下公差判斷。光源亮度使觀察更清晰容易。5.1吋大屏LCD顯示,菜單式結構,操作簡便。壓頭和物鏡手動切換,壓痕直徑長度D1和D2值編碼器輸入,減少人為讀數誤差。
【功能介紹】
● 5.1吋大屏LCD顯示,菜單式結構,各項操作過程和試驗結果的數據均可在LCD大屏幕顯示;
● 試驗過程自動化,操作簡便;
● 帶硬度值轉換功能,硬度上下公差判斷;
● 采用閉環式傳感器加載、電子控制系統加載,自動補償實驗力;
● 高清光學系統和光電傳感系統,觀察更清晰容易;
● 壓痕直徑長度D1和D2值編碼器輸入,減少人為讀數誤差;
● 試驗結果的數據可通過打印機輸出;
【應用范圍】
主要用于鑄鐵、鋼材、有色金屬及軟合金等材料的硬度測定,此外還可以用于硬質的塑料、電木等某些非金屬材料硬度的測定。適用于工廠、車間、試驗室、大專院校和科研機構。
【技術參數】
|
型號 |
HBS-62.5 |
|
布氏標尺 |
鋼球為1mm HBW1/1, HBW1/5 ,HBW1/10, HBW1/30 |
|
鋼球為2.5mm HBW2.5/15.625, HBW2.5/62.5 |
|
|
鋼球為5mm HBW5/62.5 本機有此標尺但一般不用 |
|
|
轉換標尺 |
HRC、HV、HK、HBW、HRA、HRD、HR15N、HR30N、HR45N、HR15T、HR30T、HR45T、 HRB、HRF |
|
試驗力 |
1kgf(9.8N)、5kgf(49.0N)、10kgf(98.0N)、15.625kgf(153.2N)、30kgf(294.2N)、62.5kgf(612.9N) |
|
測微目鏡最小分度值 |
0. 25μm和0.125μm |
|
總放大倍數 |
觀察或測量50X 測量100X (特殊物鏡請另行定制) |
|
硬度測試范圍 |
(8-650)HBW |
|
數據輸出 |
內置打印機 |
|
轉換標尺 |
洛氏、表面洛氏、布氏 |
|
加荷控制 |
自動(加荷、保荷、卸荷) |
|
外形尺寸(mm) |
550×250×780mm |
|
主機重量 |
約45kg |
|
試件最大高度 |
165mm |
|
內壁到壓頭中心 |
130mm |
|
電源 |
AC220V±5%,50~60Hz |
|
執行標準 |
精度符合GB231.2,、ISO6506-2及ASTM E10 |
|
選配件 |
XY工作臺、CCD測量系統 |
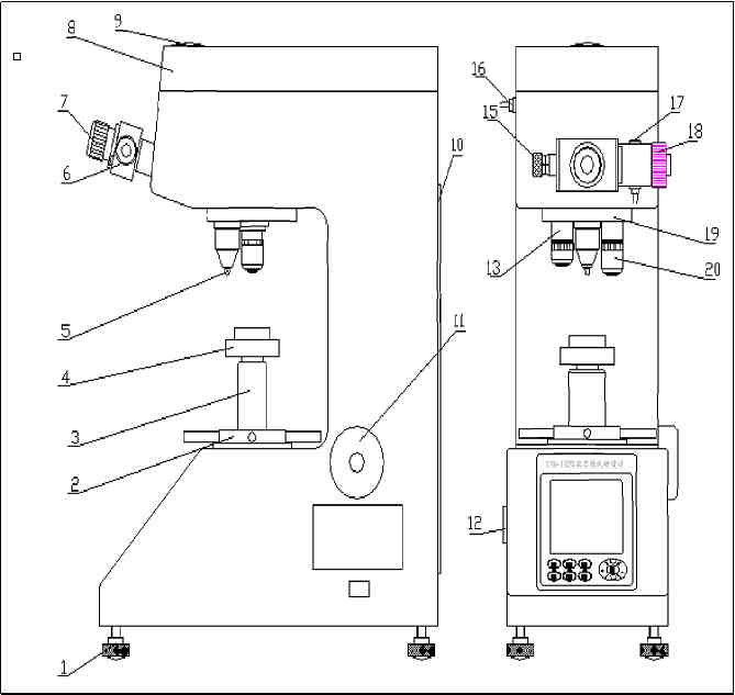
【硬度計主機外形】
硬度計主機外形
|
1.調節螺釘 |
2.旋輪 |
3.螺桿 |
4.試臺 |
5.壓頭 |
|
6.目鏡 |
7.眼罩 |
8.上蓋 |
9.攝像蓋板 |
10.后蓋板 |
|
11.手輪 |
12.電源開關 |
13.10х物鏡 |
|
15.左鼓輪 |
|
16.圓插座 |
17.測量按鈕 |
18.右鼓輪 |
19.轉塔 |
20.5х物鏡 |
面板功能介紹
操作面板
【硬度計符合標準】
GBT 231.1-2018 金屬材料 布氏硬度試驗 第1部分:試驗方法
GB/T 231.2-2012 金屬材料 布氏硬度試驗 第2部分:硬度計的檢驗與校準
JJG150 金屬布氏硬度計檢定規程
【標準配置】
|
名稱 |
數量 |
名稱 |
數量 |
|
主機 |
1臺 |
物鏡5x、10x |
各1只 |
|
φ2.5mm球壓頭 |
1只 |
φ5mm球壓頭 |
1只 |
|
φ1mm球壓頭 |
1只 |
砝碼 |
5只 |
|
數字式測微目鏡10x |
1只 |
|
|
|
約200HBW2.5/62.5標準布氏硬度塊 |
1塊 |
約100HBW1/30 標準布氏硬度塊 |
1塊 |
|
中平面試臺 |
1只 |
電源線 |
1根 |
|
大平面試臺 |
1只 |
V型試臺 |
1只 |
|
標準布氏硬度塊 |
3塊 |
產品合格證書 |
1份 |
|
產品使用說明書 |
1本 |
|
|







渝公網安備 50010902001682號